REAR CAB ASSEMBLY 6x6 400L - U.S. W958740 | REAR CAB ASSEMBLY 6x6 400L - U.S. W958740, SWEDISH S958740 and NORWEGIAN (4930273027A006)

REAR CAB ASSEMBLY 6x6 400L - U.S.  W958740 | REAR CAB ASSEMBLY 6x6 400L - U.S.  W958740, SWEDISH  S958740 and NORWEGIAN (4930273027A006)
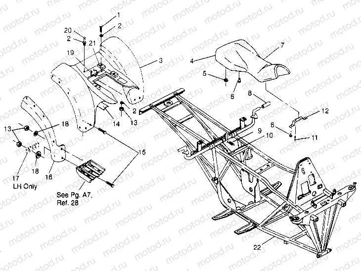
1
7512232
Vis
Цена по
запросу
2
7558301
WASHER FLAT
Цена по
запросу
3
2631557-195
CAB REAR LIQ GR.
Цена по
запросу
4
2681730-193
"""COVER SEAT CAMEL TAN"""
Цена по
запросу
5
5412504
GROMMET-RUBBER MOUNT 25
Цена по
запросу
6
5410414
BUMPER RUBBER
Цена по
запросу
7
2681729-193
"""SEAT ASM CAMEL TAN"""
Цена по
запросу
8
5431097
GRIP
Цена по
запросу
9
7042032
SPRING LATCH RETURN
Цена по
запросу
10
7072791
DECAL,FILTER ELEMENT [No Longer Available]
Цена по
запросу
11
7621403
BLIND RIVET
Цена по
запросу
12
5222837-067
BRKT SUPPORT SEAT BASE
Цена по
запросу
13
7542122
NUT-NYLOK
Цена по
запросу
14
5810957
FOIL
Цена по
запросу
14
5810991
FOIL SMALL
Цена по
запросу
15
7512282
BOLT BLACK
Цена по
запросу
16
5850103
MUDFLAP,LH REAR
Цена по
запросу
16
5850104
MUDFLAP,RH REAR
Цена по
запросу
16
5850109
MUDFLAP,RH,R.LOWER
Цена по
запросу
17
5211131-067
BRKT LH MUD FLAP
Цена по
запросу
17
5211120-067
DESC NOT_AVAILABLE
Цена по
запросу
18
7555859
WASHER FLAT
Цена по
запросу
19
7080385
RETAINER,TOOL POUCH
Цена по
запросу
20
5020663
PIN
Цена по
запросу
21
7073761
DECAL CARB.INFO.
Цена по
запросу
22
1040358-067
FRAME,(400-6X6)
Цена по
запросу

Узлы для