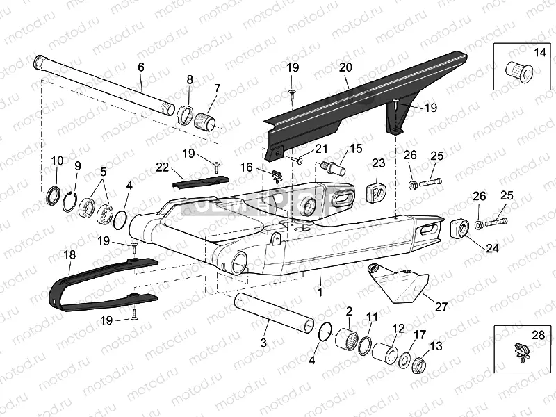
Swing arm

Swing arm
1
AP8146595
Swing arm
1
AP8146876
Swing arm
2
AP8110078
Needle bearing
3
AP8121202
Internal spacer
4
AP8144048
10 pc - O-Ring
5
AP8110079
Roulement
6
AP8135923
Rear swing arm pin
7
AP8121200
Adjustment bush
8
AP8121201
Swing arm ring nut
9
AP8121204
Seeger
10
AP8144006
Gasket ring
11
AP8144005
Gasket ring
12
AP8121203
Rear int.sw.arm piv.bush
13
AP8125763
Nut
14
AP8104390
5 pc - Threaded rivet M5
15
AP8146388
Brake supp. plate pin
16
AP8221310
Cable-guide
17
AP8125687
4 pc - Rondelle
18
AP8144168
Guard chain sliding shoe
19
AP8152302
Vis
20
AP8139631
Chain guard
21
AP8152339
Vis
22
AP8134676
Bracket
23
AP8144220
RH chain guide plate
24
AP8144221
LH chain guide plate
25
AP8152305
Chain tens.adjuster screw
26
2B004511
Nut
27
AP8144321
Chain guide plate
28
AP8121661
Cable-guide

Узлы для