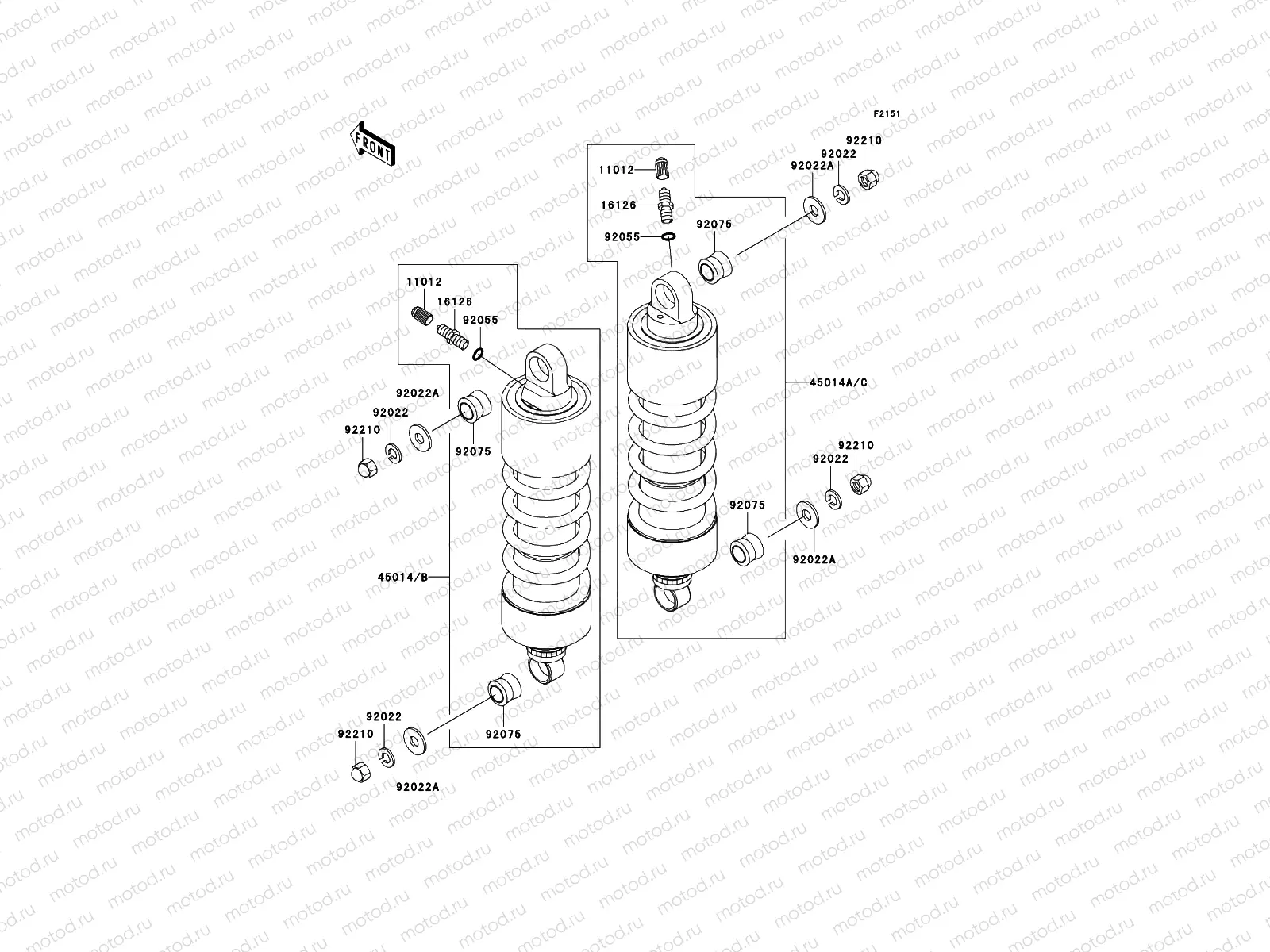
Suspension/Shock Absorber

Suspension/Shock Absorber
11012
11012-1283
CAP,FORK
562 ₽
16126
16126-1043
VALVE,AIR
2 105 ₽
45014
45014-1795
SHOCKABSORBER,LH
60 244 ₽
45014
45014-1796
SHOCKABSORBER,RH
60 244 ₽
92022
92022-1540
WASHER,SPRING,10MM
354 ₽
92022
92022-246
WASHER,PLAIN,10MM
357 ₽
92055
92055-1130
O-Ring
128 ₽
92075
92075-1387
DAMPER,SHOCKABSORBER
867 ₽
92210
92210-1128
NUT,CAP,10MM
161 ₽

Узлы для