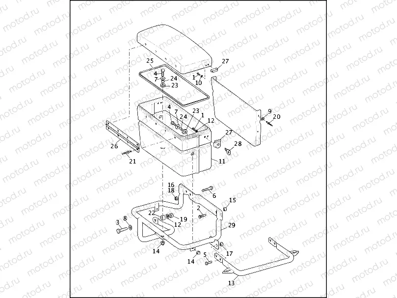
SADDLEBAGS - FXRP

SADDLEBAGS - FXRP
1
SCREW
Цена по
запросу
2
2887WA
SCREW, CAP
Цена по
запросу
2
3419
CAP SCREW
Цена по
запросу
3
BOLT
Цена по
запросу
4
3991
25 pc - Vis
Цена по
запросу
5
4017
pc - SCREW, HEX
Цена по
запросу
6
SCREW
Цена по
запросу
7
6229W
Rondelle
Цена по
запросу
8
6334
Rondelle
Цена по
запросу
9
6198
Rondelle
Цена по
запросу
10
6717
Rondelle
Цена по
запросу
11
SADDLEBAG ASSEMBLY, left (black)
Цена по
запросу
12
7039
Rondelle (Lock)
Цена по
запросу
12
SADDLEBAG ASSEMBLY, right (black)
Цена по
запросу
13
CROSS BRACE, saddlebag support
Цена по
запросу
14
7507
ACORN NUT
Цена по
запросу
15
7531
LOCKNUT.
Цена по
запросу
16
7782
Nut
Цена по
запросу
17
7739
NUT, HEX LOCK
Цена по
запросу
18
7776W
Nut
Цена по
запросу
19
NUT
Цена по
запросу
20
RIVET
Цена по
запросу
21
8692
BLIND RIVET
Цена по
запросу
22
SPACER
Цена по
запросу
23
90483-85
Damper
Цена по
запросу
24
SPACER
Цена по
запросу
25
GASKET
Цена по
запросу
26
HINGE, saddlebag
Цена по
запросу
27
90658-84A
LATCH SET, SCREW-TYPE
Цена по
запросу
28
KEY, indicate serial number
Цена по
запросу
29
SADDLEBAG CARRIER, right
Цена по
запросу
29
SADDLEBAG CARRIER, left
Цена по
запросу

Узлы для