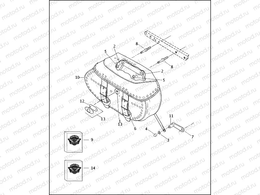
SADDLEBAGS - FLSTC/I

SADDLEBAGS - FLSTC/I
1
5244
CLIP, SPRING, TUBULAR TYPE
Цена по
запросу
2
6229W
Rondelle
Цена по
запросу
3
6702
WASHER, PLAIN, TYPE A
Цена по
запросу
4
7507
ACORN NUT
Цена по
запросу
5
7531
LOCKNUT.
Цена по
запросу
6
90247-00
BUCKLE ASY
Цена по
запросу
7
90346-00
LOWER FRONT S/BAG SUPPORT
Цена по
запросу
8
90367-03
STUD,S'BAG HANGER
Цена по
запросу
9
90438-10
FLSTC STRAP REPAIR KIT
Цена по
запросу
10
90476-00
SADDLEBAG,FLSTC,L/H 00-05
Цена по
запросу
10
90477-00
SADDLEBAG,FLSTC,R/H 00-05
Цена по
запросу
11
90524-01
MOUNT, RUBBER
Цена по
запросу
12
91679-00
CONCHO BACKING PLATE,FLSTC/FLS
Цена по
запросу
13
91850-00
CONCHO KIT,FLSTC
Цена по
запросу
14
SADDLEBAG REMOVAL KIT, w/ 4 thread protector caps
Цена по
запросу

Узлы для