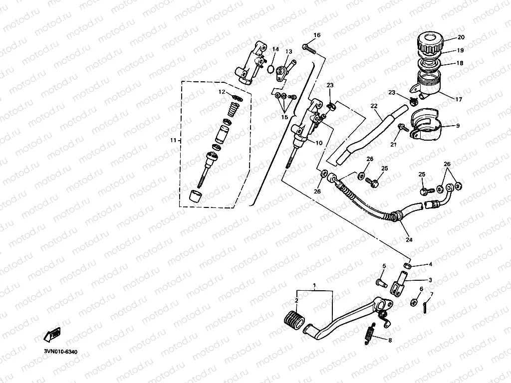
Rear mastic cylinder

Rear mastic cylinder
1
3SX-27200-00
Pédale de frein
Цена по
запросу
2
22N-18113-00
Кожух педали резиновый, низ
604 ₽
3
31A-27222-00
Joint
2 718 ₽
4
95380-08700
Гайка
152 ₽
5
90240-08124
Палец
191 ₽
6
90201-08083
Шайба
175 ₽
7
91490-20015
Шплинт
104 ₽
8
90506-20192
Пружина
668 ₽
9
3SX-25888-00
COVER, RESERVOIR TANK
Цена по
запросу
10
3TJ-2583V-00
Brake hydraulic pump
Цена по
запросу
11
3LN-W0042-50
Ремкомплект главного цилиндра
8 769 ₽
12
3LN-2585G-00
Стопор
334 ₽
13
3LN-2582A-00
Штуцер угловой
1 264 ₽
14
3LN-2585F-00
Кольцо уплотнительное
747 ₽
15
3LN-2585H-00
Винт
381 ₽
16
92017-08025
Болт
159 ₽
17
47X-25894-00
Бачок тормозной жидкости
2 035 ₽
18
360-25854-01
Диафрагма
1 621 ₽
19
2GU-25855-00
Основание диафрагмы
1 717 ₽
20
1A5-25852-01
Cap, Reservoir
2 003 ₽
21
95817-06020
Болт
95 ₽
22
3SX-25895-00
HOSE, RESERVOIR
Цена по
запросу
23
90467-14057
Хомут
120 ₽
24
3SX-25872-51
Durite de frein
Цена по
запросу
25
90401-10159
Болт-штуцер
318 ₽
26
90201-108J9
Шайба
85 ₽

Узлы для