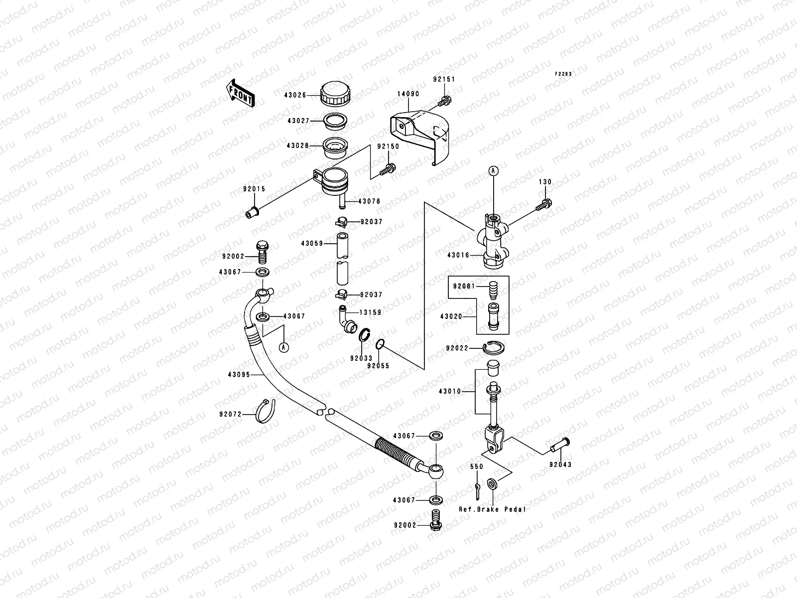
Rear Master Cylinder

Rear Master Cylinder
130
130BB-0830
Vis
128 ₽
550
550AA-2015
PIN-COTTER,2.0X15
77 ₽
13159
13159-1052
CONNECTOR RR MASTER C
916 ₽
14090
14090-1939
COVER,RESERVOIR
4 867 ₽
43010
43010-1055
ROD-ASSY-BRAKE
4 772 ₽
43016
43016-1122
CYLINDER-MASTER,RR
14 716 ₽
43020
43020-1057
PISTON-COMP-BRAKE
4 180 ₽
43026
43026-1051
Couvercle du réservoir de liquide de frein
2 265 ₽
43027
43027-1051
Entretoise
418 ₽
43028
43028-1057
DIAPHRAGM
1 285 ₽
43059
43059-1318
HOSE-BRAKE,RR MASTER
2 105 ₽
43067
49091-0001
WASHER-SEAL,10.1X14.5X1.
119 ₽
43078
43078-1082
RESERVOIR, RR MASTER
1 751 ₽
43095
43095-1164
HOSE-BRAKE,RR
Цена по
запросу
92002
92153-0627
Vis (L=23)
268 ₽
92015
92015-1700
Nut
506 ₽
92022
92033-0079
RING-SNAP,20.9X24.6X1.2
342 ₽
92033
92033-1186
RING-SNAP,20.5MM
289 ₽
92037
92037-1547
CLAMP
739 ₽
92043
92043-1013
PIN
610 ₽
92055
92055-0741
O-Ring (MASTER CYLINDER)
524 ₽
92072
92072-1195
BAND,L=185
369 ₽
92081
92081-1737
SPRING
739 ₽
92150
92150-1829
Vis (6x25)
312 ₽
92151
92151-1401
Vis
128 ₽

Узлы для