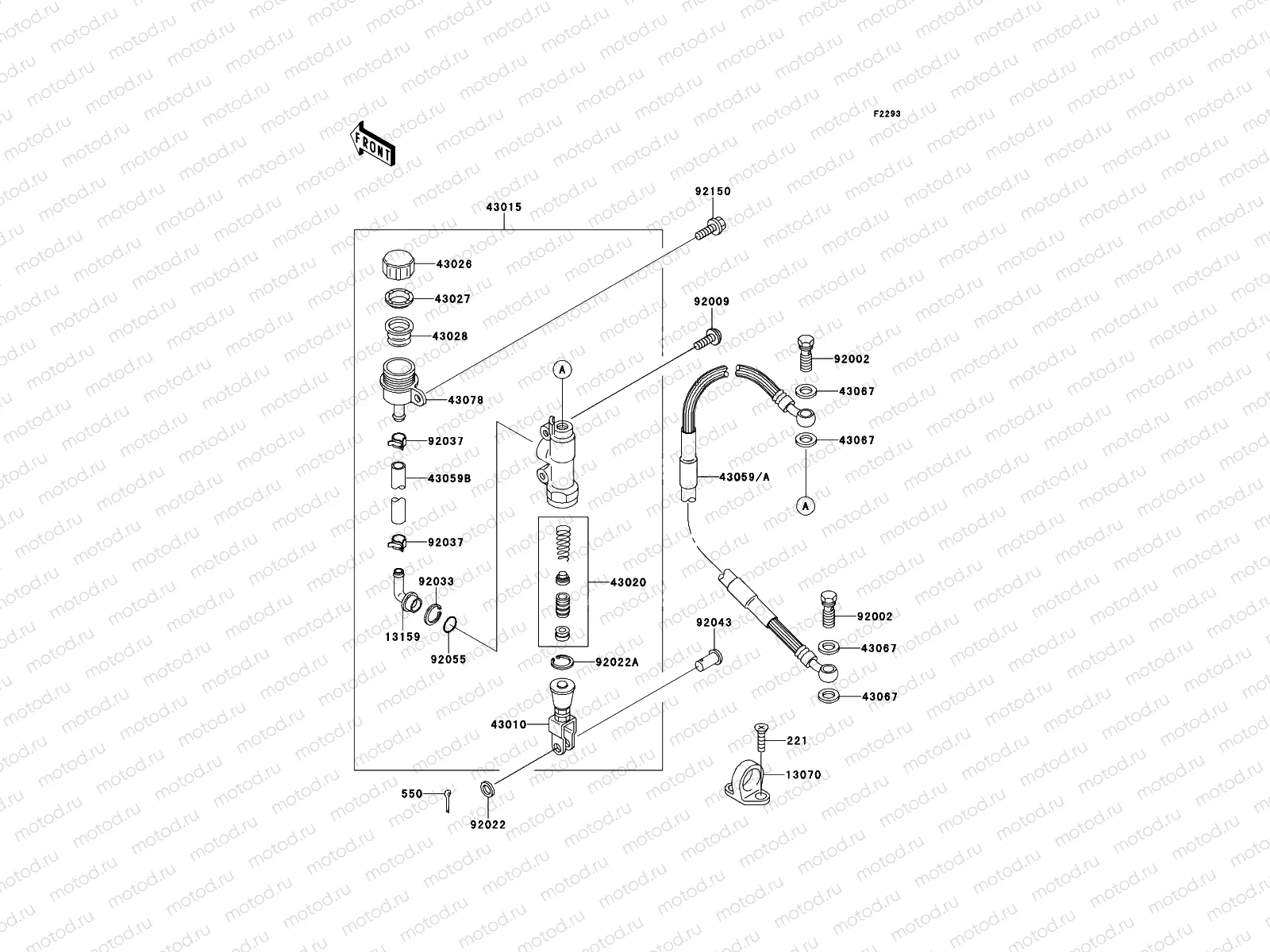
Rear Master Cylinder

Rear Master Cylinder
221
221AA-0610
SCREW-CNTSNK HD,6X10
97 ₽
550
550AA-2015
PIN-COTTER,2.0X15
77 ₽
13070
13070-1144
GUIDE,HOSE
546 ₽
13159
13159-1056
CONNECTOR
916 ₽
43010
43010-1063
ROD-ASSY-BRAKE
Цена по
запросу
43015
43015-1446
Brake hydraulic pump
Цена по
запросу
43020
43020-1094
PISTON-COMP, BRAKE
4 180 ₽
43026
43026-1058
CAP-BRAKE
2 233 ₽
43027
43027-1052
Entretoise
321 ₽
43028
43028-1060
DIAPHRAGM
1 141 ₽
43059
43095-1234
HOSE-BRAKE,RR,L=565
5 767 ₽
43059
43059-1363
HOSE-BRAKE
Цена по
запросу
43067
49091-0001
WASHER-SEAL,10.1X14.5X1.
119 ₽
43078
43078-1068
RESERVOIR
1 751 ₽
92002
92153-0627
Vis (L=23)
268 ₽
92009
92172-0401
5 pc - Vis
104 ₽
92022
92022-1028
Rondelle (8.5x13x1)
223 ₽
92022
92033-0079
RING-SNAP,20.9X24.6X1.2
342 ₽
92033
92033-1186
RING-SNAP,20.5MM
289 ₽
92037
92037-1710
Collier
610 ₽
92043
92043-0104
PIN,8X14.5
177 ₽
92055
92055-0741
O-Ring (MASTER CYLINDER)
524 ₽
92150
92150-1505
pc - Vis (6x14)
268 ₽

Узлы для