REAR BRAKE CONTROL

REAR BRAKE CONTROL
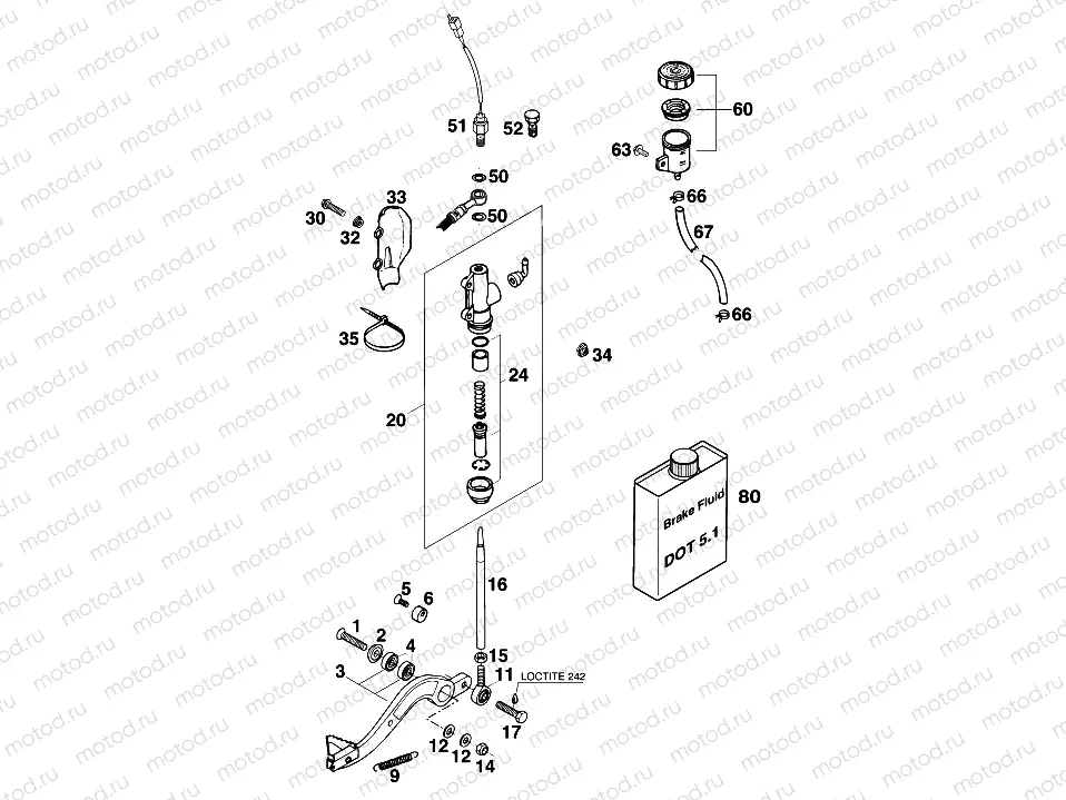
1
0991080353
FLAT HEAD SCREW DIN7991-M 8X35
Цена по
запросу
2
58303061000
SPECIAL WASHER ALU 8 X 24 MM
Цена по
запросу
3
58303060044
FOOT BRAKE LEVER CPL. '93
Цена по
запросу
4
0625006087
GROOVED BALL BEAR. 608 2RS C3
Цена по
запросу
5
0991060202
FLAT HEAD DIN7991-M 6X20
Цена по
запросу
6
58303063000
BRAKE LEVER STOP '93
Цена по
запросу
9
13003062000
Return spring
Цена по
запросу
11
58303062000
HEIM JOINT M8 W=12MM '93
Цена по
запросу
12
0125080003
Rondelle
Цена по
запросу
14
0985080003
SELF LOCKING NUT DIN0985-M 8
Цена по
запросу
15
0934080003
Nut
Цена по
запросу
16
58303068100
PUSH ROD ALU L=178MM '93
Цена по
запросу
17
0933080223
HH SCREW DIN0933-M 8X22 8.8
Цена по
запросу
20
54513101044
MAIN BRAKE CYLINDER '89
Цена по
запросу
24
54513150000
REPAIR KIT PISTON 13MM
Цена по
запросу
30
0025060256
Vis
Цена по
запросу
32
50213161000
COLLAR BUSHING
Цена по
запросу
33
54513038000
BRAKE CYL. PROTECTOR ''BREMBO''
Цена по
запросу
34
50235033300
SNAP-NUT HOLDER M6 KP142
Цена по
запросу
35
44011076305
CABLE TIE 300/4,8MM BLACK
Цена по
запросу
50
42013226000
Rondelle
Цена по
запросу
51
50311051100
Commutateur de feu-stop
Цена по
запросу
52
50213025000
HOLLOW SCREW M10X1X19
Цена по
запросу
60
54513030044
BRAKE FLUID RESERVOIR '89
Цена по
запросу
63
0024060106
Vis
Цена по
запросу
66
58007017000
YDNAC CLAMP 10101 (10,4MM)
Цена по
запросу
67
58007016101
HOSE FOR RESERVOIR 6X1,5
Цена по
запросу
80
00062030000
BRAKE FLUID DOT5.1 0,25L (DOT5.1 - 0,25L)
Цена по
запросу

Узлы для