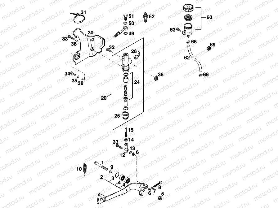
REAR BRAKE CONTROL

REAR BRAKE CONTROL
1
0015080603
Vis
Цена по
запросу
2
54603060144
FOOT BRAKE LEVER CPL. 250'91
Цена по
запросу
3
0472022150
CIRCLIP DIN0472-22X1,5
Цена по
запросу
4
0625006087
GROOVED BALL BEAR. 608 2RS C3
Цена по
запросу
5
54310086000
Null
Цена по
запросу
6
12011016000
WASHER 6 X 12 X 3
Цена по
запросу
7
0934060003
hex nut DIN 934 M6
Цена по
запросу
8
0933060353
HH SCREW DIN0933-M 6X35
Цена по
запросу
9
0125080003
Rondelle
Цена по
запросу
10
54603062200
Return spring for brake lever
Цена по
запросу
12
54603069000
SWIVEL HEAD M6 FOOT BRAKE LEV.
Цена по
запросу
13
0125060003
WASHER DIN0125-A 6,4
Цена по
запросу
15
54603068000
PRESSURE ROD ALU 250 '90
Цена по
запросу
20
54513101044
MAIN BRAKE CYLINDER '89
Цена по
запросу
24
54513150000
REPAIR KIT PISTON 13MM
Цена по
запросу
25
54513151000
RUBBER SLEEVE
Цена по
запросу
26
54513155000
ANGLE PIECE
Цена по
запросу
30
54613038000
Brake cylind. protector 250'
Цена по
запросу
31
44011076200
CABLE TIE 200/3,6MM BLACK
Цена по
запросу
32
0025060206
Vis
Цена по
запросу
33
0025060256
Vis
Цена по
запросу
34
0025050206
Vis
Цена по
запросу
35
50233041000
pc - Rondelle (Lock)
Цена по
запросу
36
50235033300
SNAP-NUT HOLDER M6 KP142
Цена по
запросу
38
58011039000
SPACER BUSHING 6,5 X 8 X 7
Цена по
запросу
49
42013026000
CU-SEAL RING DIN7603-10X16X1,5
Цена по
запросу
50
42013226000
Rondelle
Цена по
запросу
51
50213025000
HOLLOW SCREW M10X1X19
Цена по
запросу
52
50311051144
Commutateur de feu-stop
Цена по
запросу
60
54513030044
BRAKE FLUID RESERVOIR '89
Цена по
запросу
62
58007016101
HOSE FOR RESERVOIR 6X1,5
Цена по
запросу
63
0025050166
Vis
Цена по
запросу
66
58007017000
YDNAC CLAMP 10101 (10,4MM)
Цена по
запросу
69
50235033000
SNAP-NUT HOLDER M5 KP142
Цена по
запросу

Узлы для