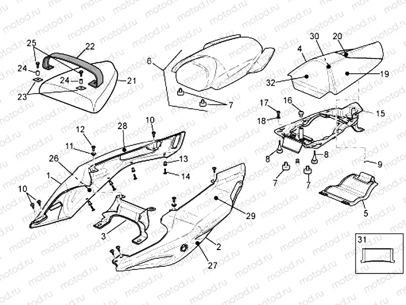
Rear body - Rear fairing

Rear body - Rear fairing
1
AP8184803
RH rear fairing, red-black
1
AP8184127
RH rear fairing, white
1
AP8178783
RH rear fairing, grey
1
AP8179425
RH rear fairing, black
1
AP8184654
RH rear fairing, white
1
AP8184127
RH rear fairing, white
1
AP8179322
RH rear fairing, red
1
AP8184330
RH rear fairing, black
1
AP8179425
RH rear fairing, black
2
AP8179420
LH rear fairing, black
2
AP8179426
LH rear fairing, black
2
AP8179323
LH rear fairing, red
2
AP8184655
LH rear fairing, white
2
AP8184804
LH rear fairing, red-black
2
AP8179073
LH rear fairing, grey
2
AP8184331
LH rear fairing, white
2
AP8184128
LH rear fairing, white
2
AP8184128
LH rear fairing, white
3
AP8184360
Rear fairing, red
3
AP8179831
Rear fairing, white
3
AP8179324
Rear fairing, red
3
AP8184324
Rear fairing, black
3
AP8179077
Rear fairing, grey
3
AP8179421
Rear fairing, black
3
AP8184649
Rear fairing, white
4
854975
Saddle cover KIT
4
860398
Saddle cover KIT
4
AP8179480
Saddle cover, aprilia black
4
854976
Saddle cover KIT
4
860400
Saddle cover KIT
4
AP8179326
Saddle cover, red
4
860399
Saddle cover KIT
4
AP8179427
Saddle cover, black
4
AP8179422
Saddle cover, black
4
AP8179472
Seat cover, white
4
854974
Saddle cover KIT
4
AP8179074
Saddle cover, grey
5
AP8158138
Door
6
AP8129519
Rear saddle, black
6
AP8129442
Rear saddle, black
6
AP8129466
Rear saddle, red
7
AP8220349
Rubber spacer
8
AP8220238
6 pc - Damper
9
AP8150413
Vis
10
AP8152302
Vis
11
AP8221145
2 pc - T bush *
12
AP8224470
Vis
13
AP8144616
10 pc - Rivet, female
14
AP8144563
10 pc - Rivet, male
15
AP8179075
Saddle cover base
16
AP8144081
5 pc - Side panel support rubber
17
AP8152043
Vis
18
AP8150011
Rondelle
19
852585
LH numberplate
19
890915
LH numberplate
19
852820
LH numberplate
19
852783
LH numberplate
19
860212
LH numberplate
20
860213
Saddle cover decal
20
852583
Saddle cover decal Aprilia
20
AP8166851
Saddle cover decal Aprilia
20
AP8166737
Saddle cover decal Aprilia
20
854560
Saddle cover decal Aprilia
20
854560
Saddle cover decal Aprilia
21
AP8129474
Rear saddle, red
21
AP8129467
Rear saddle, black
21
AP8129504
Rear saddle, blue
21
AP8129514
Rear saddle, red
22
AP8129505
Pillion seat strap, blue
22
AP8129475
Pillion seat strap, red
22
AP8129515
Pillion seat strap, red
22
AP8184806
Pillion seat strap, black
22
AP8129468
Pillion seat strap, black
23
AP8134654
Plate
24
AP8120253
10 pc - Entretoise
25
AP8152281
Vis
26
852579
RH rear fairing decal
26
AP8166764
RH rear fairing decal
27
852580
LH rear fairing decal
27
AP8166765
LH rear fairing decal
28
860220
RH rear fairing decal
28
852817
RH rear fairing decal
28
860218
RH rear fairing decal
28
890912
RH rear fairing decal
28
852780
RH rear fairing decal
28
856249
RH rear fairing decal
28
852581
RH rear fairing decal
28
860209
RH rear fairing decal
28
852801
RH rear fairing decal
29
860219
LH rear fairing decal
29
860210
LH rear fairing decal
29
860221
LH rear fairing decal
29
856250
LH rear fairing decal
29
890913
LH rear fairing decal
29
852582
LH rear fairing decal
29
852781
LH rear fairing decal
29
852818
LH rear fairing decal
29
852802
LH rear fairing decal
30
852819
RH numberplate
30
852584
RH numberplate
30
860211
RH numberplate
30
852782
RH numberplate
30
890914
RH numberplate
31
890916
Transfer centre black
32
893702
Backrest

Узлы для