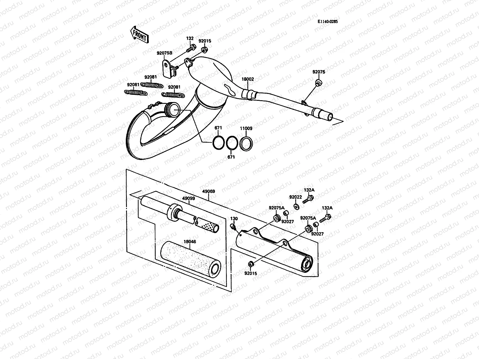
Muffler(s)

Muffler(s)
130
130BA-0508
Vis
97 ₽
132
132BA-0612
5 pc - Vis
80 ₽
132
92002-1609
Vis
274 ₽
671
671E2-550
O RING,50MM
836 ₽
11009
11009-1949
Exhaust gasket
723 ₽
18002
18002-1801
BODY-COMP-MUFFLER
Цена по
запросу
18046
18046-1084
WOOL,MUFFLER BAFFLE P
Цена по
запросу
49069
49069-1090
MUFFLER-ASSY
Цена по
запросу
49099
49099-1248
BAFFLE-PIPE MUFFLER
Цена по
запросу
92015
92210-0630
Nut
97 ₽
92022
92022-237
Rondelle (6.5x22x1.6)
241 ₽
92027
92027-1210
COLLAR,6.8X10X11.5L
626 ₽
92075
92075-1598
Damper
521 ₽
92075
92075-1857
DAMPER,MUFFLER FITTIN
321 ₽
92075
92075-1891
Damper (MUFFLER)
2 143 ₽
92081
92081-1526
Spring
626 ₽

Узлы для