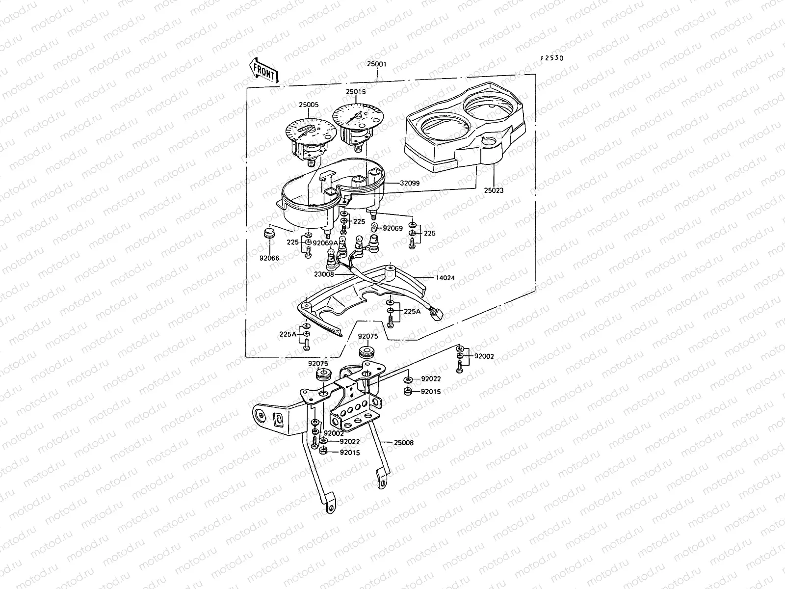
Meter(s)

Meter(s)
225
225AA-0410
SCREW-PAN-WSP-CROS
113 ₽/шт
225
225AA-0412
SCREW-PAN-WSP-CROS,4X12
113 ₽/шт
14024
14025-1376
COVER
23008
23008-1218
SOCKET-ASSY,METER
25001
25001-1648
METER-ASSY,MPH
25005
25005-5001
SPEEDOMETER,80MPH
25008
25008-1028
BRACKET-METER
25015
25015-1091
TACHOMETER
25023
25023-1029
COVER-METER CASE
32099
32099-1021
CASE
92002
187AA-0614
Vis (6x14)
104 ₽/шт
92015
92015-1391
Nut (6 mm)
223 ₽/шт
92022
92200-0283
Rondelle
60 ₽/шт
92066
92066-1090
PLUG
92069
92069-1053
BULB,6V 3W
321 ₽/шт
92069
92069-1054
BULB,6V 1.7W
321 ₽/шт
92075
92075-076
Damper
289 ₽/шт

Узлы для