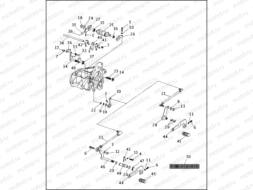
GEAR SHIFTER (2 OF 2)

GEAR SHIFTER (2 OF 2)
28
33660-90B
SHIFT LEVER
29
33708-94
BEARING, SHIFTER ASSY
30
33715-85A
SHIFTER LEVER
31
33728-90B
SHIFTER ROD, DYNA
32
PIN, shifter shaft lever (use 34084-86A)
33
34083-79
Spring
34
34084-86A
SHIFTER SHAFT
35
CAM FOLLOWER
36
PAWL, shifter cam
37
34087-79A
SPRING, SHIFTER SHAFT
38
34088-87A
SHIFTER FORK SHAFT
39
34089-79
Spring
40
34191-79E
SHIFTER FORK, 1ST & 2ND GEAR
41
34193-79E
SHIFTER FORK, 3RD & 5TH GEAR
42
34195-79E
SHIFTER FORK, 4TH GEAR
43
34561-84
LOCATER PLATE
44
34564-90B
SHIFTER LEVER ASSY
45
34611-65A
KIT-SHIFTER PEG
46
34621-90
SHIFT LEVER ASSY, FXDS
47
34625-90
SPRING, WAVE, FXDS
48
34632-84B
SLEEVE, SHIFTER LEVER
49
PLATE
50
14270-92
DECAL, SHIFT PATTERN, JAPAN

Узлы для