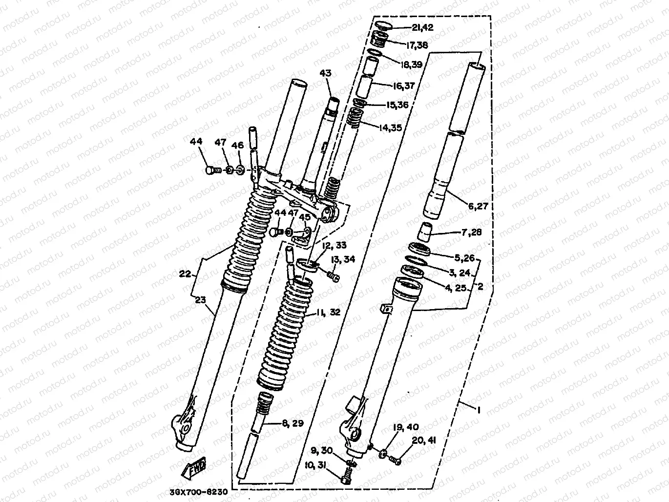
FRONT FORK

FRONT FORK

Узлы для