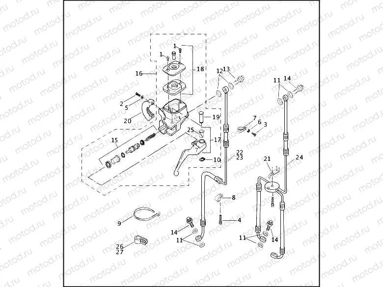
FRONT BRAKE CONTROL

FRONT BRAKE CONTROL
1
2579A
Vis
2
4132
SCREW, HEX SOCKET BUTTON HEAD
3
4240
SCREW,HEX WASHER HD
4
4741A
SCREW, SEM HEX SOCKET HEAD CAP
5
6101
Rondelle
6
7220
Rondelle
7
10031
CLAMP, CABLE
8
10053
Collier
9
10065
CABLE STRAP
10
11143
RETAINING RING
11
41731-01
Gasket
12
41733-88
GASKET, BANJO
13
41739-84A
BOLT, BANJO
14
41747-82A
BOLT, BANJO
15
45006-96F
PISTON SET,BRK CALIPER,KIT,MA
15
45072-96E
KIT-PISTON(SERV)MSTR CYL,11/16
16
41700-737
BRAKE MA CYL ASSY,DL,FR,BLK
16
45019-96F
MSTR CYL ASY,FRT/SNGL/BLACK
17
45016-96
Levier de frein
18
45030-03D
RES'VRS KIT, CLUTCH, BLK, MST
19
45032-82
PIVOT PIN
20
45044-96A
CLAMP, MASTER CYLINDER & CLUTC
21
45074-95
GUIDE, FRONT BRAKE LINE
22
BRAKE LINE, front (use 45121-96A)
22
BRAKE LINE, front (use 45121-96A)
23
BRAKE LINE KIT, front, w/ 10065, 41731-01, 41733-88, 68562-84 & 71795-63A
24
BRAKE LINE KIT, front, w/ 10065, 41731-01 & 71795-63A
24
BRAKE LINE KIT, front, w/ 10065, 41731-01 & 71795-63A
25
45423-96
LEVER PIVOT BUSHING
26
68562-84
TAIL LIGHT WIRE CLIP, HDI
27
71795-63A
REGULATOR CABLE CLAMP

Узлы для