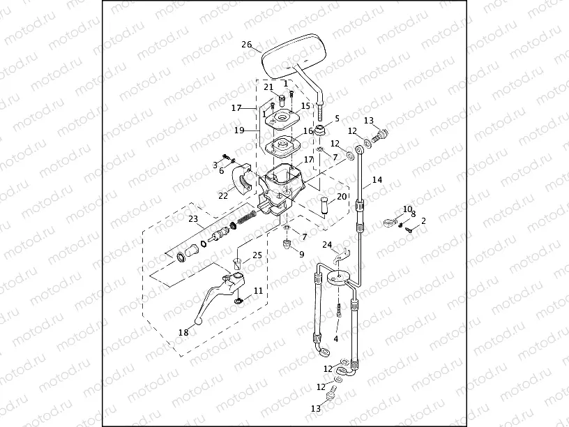
FRONT BRAKE CONTROL

FRONT BRAKE CONTROL
1
2579A
Vis
Цена по
запросу
2
4240
SCREW,HEX WASHER HD
Цена по
запросу
3
4132
SCREW, HEX SOCKET BUTTON HEAD
Цена по
запросу
4
4741A
SCREW, SEM HEX SOCKET HEAD CAP
Цена по
запросу
5
5774
SPACER, MIRROR MOUNT
Цена по
запросу
6
6101
Rondelle
Цена по
запросу
7
7127
Rondelle
Цена по
запросу
8
7220
Rondelle
Цена по
запросу
9
7736
NUT, ACORN
Цена по
запросу
10
10031
CLAMP, CABLE
Цена по
запросу
11
11143
RETAINING RING
Цена по
запросу
12
41731-88A
Gasket
Цена по
запросу
13
41747-82A
BOLT, BANJO
Цена по
запросу
14
BRAKE LINE, dual caliper
Цена по
запросу
15
45004-96A
COVER, RESERVOIR, BLACK
Цена по
запросу
16
GASKET, reservoir cover (use 45030-03C) (used w/ 45013-96)
Цена по
запросу
17
41700-737
BRAKE MA CYL ASSY,DL,FR,BLK
Цена по
запросу
18
45016-96
Levier de frein
Цена по
запросу
19
45030-03D
RES'VRS KIT, CLUTCH, BLK, MST
Цена по
запросу
20
45032-82
PIVOT PIN
Цена по
запросу
21
SIGHT GLASS (used w/ 45013-96)
Цена по
запросу
22
45044-96A
CLAMP, MASTER CYLINDER & CLUTC
Цена по
запросу
23
45072-96E
KIT-PISTON(SERV)MSTR CYL,11/16
Цена по
запросу
24
45074-95
GUIDE, FRONT BRAKE LINE
Цена по
запросу
25
45423-96
LEVER PIVOT BUSHING
Цена по
запросу
26
MIRROR KIT, short, right, flat
Цена по
запросу

Узлы для