FOX SHOCK | FOX SHOCK, GAS, RESEVOIR Scrambler W967840 (4935823582C11A)

FOX SHOCK | FOX SHOCK, GAS, RESEVOIR Scrambler W967840 (4935823582C11A)
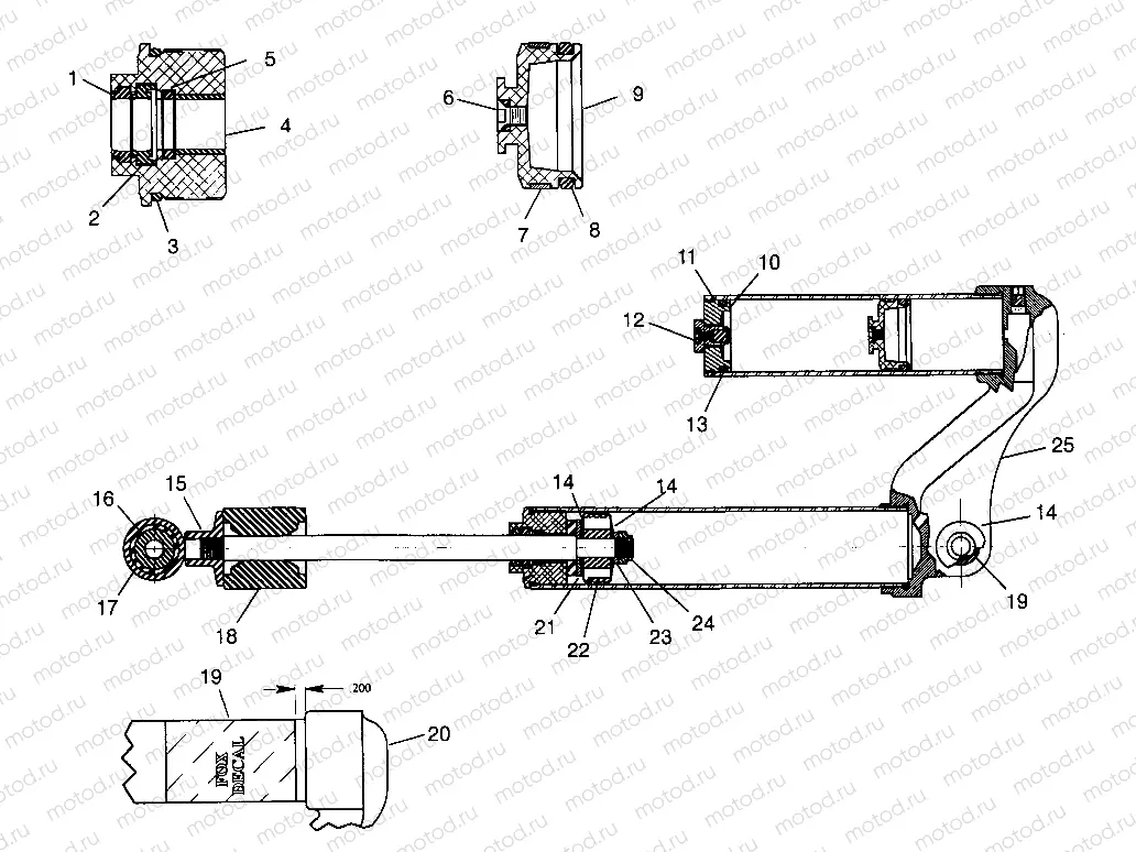
0
7041383
SHOCK,GAS,RESERVOIR
Цена по
запросу
1
5433298
SEAL WIPER URETHANE (FOX)
Цена по
запросу
2
1500266
U-CUP-4300 URETH 036-01-006
Цена по
запросу
3
1500020
O-RING .103W-1.299ID
Цена по
запросу
4
1500009
"""BEARING"""
Цена по
запросу
5
1500021
O-RING INNER
Цена по
запросу
6
1500018
Vis
Цена по
запросу
6
1500023
O-RING OUTER
Цена по
запросу
7
1500006
RING PISTON FLOATING
Цена по
запросу
8
1500003
O-RING ENDCAP
Цена по
запросу
9
1500011
PISTON
Цена по
запросу
10
1500099
CAP,RESERV.ASM,(FOX)-ATV (Incl. 11, 12, 13)
Цена по
запросу
11
1500097
RING-RETAINING WIRE
Цена по
запросу
12
1500019
Vis
Цена по
запросу
12
1500022
O-RING DRUM OUTER
Цена по
запросу
12
1500014
VALVE ASM AIR
Цена по
запросу
13
1500003
O-RING ENDCAP
Цена по
запросу
14
1500104
BSG-EYELET
Цена по
запросу
15
1500013
EYELET
Цена по
запросу
16
1500102
SLEEVE
Цена по
запросу
17
1500103
BSG-EYELET
Цена по
запросу
18
5410987
BUMPER,R.COMPRESS.,ATV
Цена по
запросу
19
5020657
BUSHING 1.40
Цена по
запросу
20
1500101
CAP BODY ASM (FOX)
Цена по
запросу
21
1500017
PLATE TOP OUT
Цена по
запросу
22
1500002
DAMPER PISTON RING
Цена по
запросу
23
1500015
PLATE BACKUP
Цена по
запросу
24
1500016
NUT LOCK
Цена по
запросу
25
1500004
O-RING BODY FOX .139W-1.234ID
Цена по
запросу

Узлы для