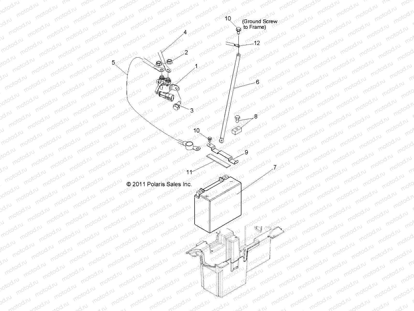
ELECTRICAL | ELECTRICAL, BATTERY - R13VE76FX/FI (49RGRBATTERY12RZRSI)

ELECTRICAL | ELECTRICAL, BATTERY - R13VE76FX/FI (49RGRBATTERY12RZRSI)
1
4012001
SOLENOID-STARTER-C1100
Цена по
запросу
2
7547270
NUT-HXFLGHD M6 SERRATED
Цена по
запросу
3
7518529
SCR-M6X1.0X20 HXHD FLG TDFM BL
Цена по
запросу
4
4011498
CABLE-SOLENOID TO STARTER
Цена по
запросу
5
4011497
CABLE-BATT TO SOLENOID/TERMINA
Цена по
запросу
6
4013201
CABLE-CHASSIS GROUND
Цена по
запросу
7
4019243
La batterie
Цена по
запросу
8
2202848
KIT-BATTERY BOLT
Цена по
запросу
9
5254910
STRAP-BATT RETAINER
Цена по
запросу
10
7517312
Vis
Цена по
запросу
11
5810455
PAD
Цена по
запросу
12
4011499
CABLE-GROUND
Цена по
запросу

Узлы для