Cylinder/Piston(s)

Cylinder/Piston(s)
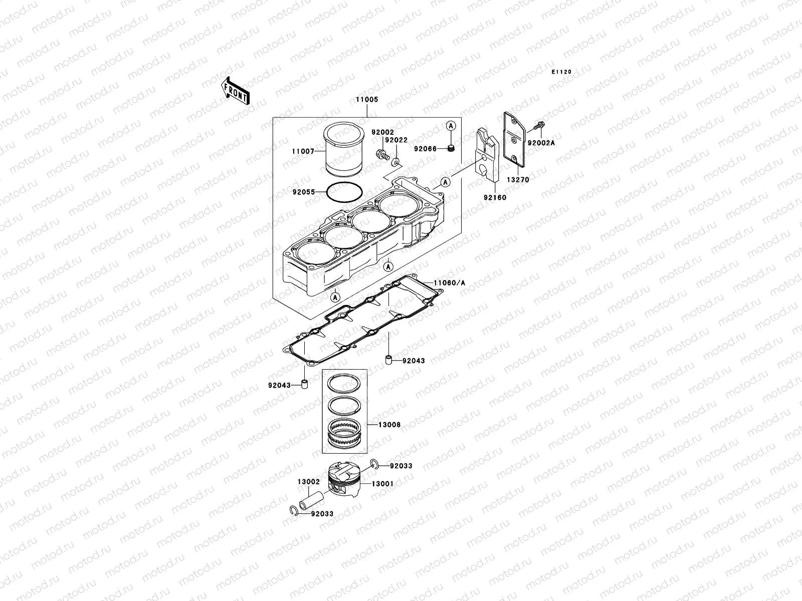
11005
11005-1837
CYLINDER-ENGINE
Цена по
запросу
11007
11007-1139
LINER-CYLINDER
Цена по
запросу
11060
11060-1705
Joint d'embase cylindre
2 426 ₽
13001
13001-1447
Piston (STD)
8 273 ₽
13002
13002-1086
Piston pin
1 815 ₽
13008
13008-1168
Kir segment (STD)
4 900 ₽
13270
13270-1502
PLATE
707 ₽
92002
92002-1238
BOLT,16X10
498 ₽
92002
92002-1604
Vis (6x8)
305 ₽
92022
92022-1812
WASHER,16XX22X1.0
274 ₽
92033
92033-1099
5 pc - RING-SNAP,18MM
848 ₽
92043
92043-1037
Dowel pin
149 ₽
92055
92055-1526
O-Ring (78.9x2.0)
Цена по
запросу
92066
92066-1260
PLUG
257 ₽
92160
92160-1813
Damper
1 720 ₽

Узлы для