Carburetor-piston/adjuster/trigger

Carburetor-piston/adjuster/trigger
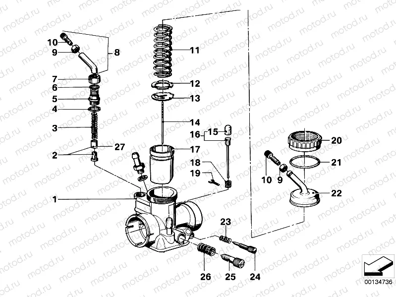
3
13111261345
Compression spring
Цена по
запросу
4
13111261349
Gasket ring
Цена по
запросу
5
13111261347
Connector
Цена по
запросу
6
13111261350
Gasket
Цена по
запросу
7
13111261348
Cap nut
Цена по
запросу
9
32731236644
Mère
Цена по
запросу
10
13110039178
 Adjuster
Цена по
запросу
11
13111254929
SLUICE VALVE SPRING
Цена по
запросу
12
13111259276
Rondelle
Цена по
запросу
13
13111254927
Bracket
Цена по
запросу
14
13111254926
NOZZLE NEEDLE
Цена по
запросу
16
13111254911
TRIGGER
Цена по
запросу
17
13111254925
Piston
Цена по
запросу
18
13111254912
Spring
Цена по
запросу
19
13110039165
Split pin
Цена по
запросу
20
13110039216
 Threaded ring
Цена по
запросу
21
13111254932
Gasket ring
Цена по
запросу
22
13111254930
Cover left
Цена по
запросу
22
13111254931
Cover right
Цена по
запросу
23
13111254918
Spring
Цена по
запросу
24
13111254917
Vis
Цена по
запросу
25
13111254921
Adjuster
Цена по
запросу
26
13111254922
Spring
Цена по
запросу
27
13111335688
Sleeve
Цена по
запросу

Узлы для