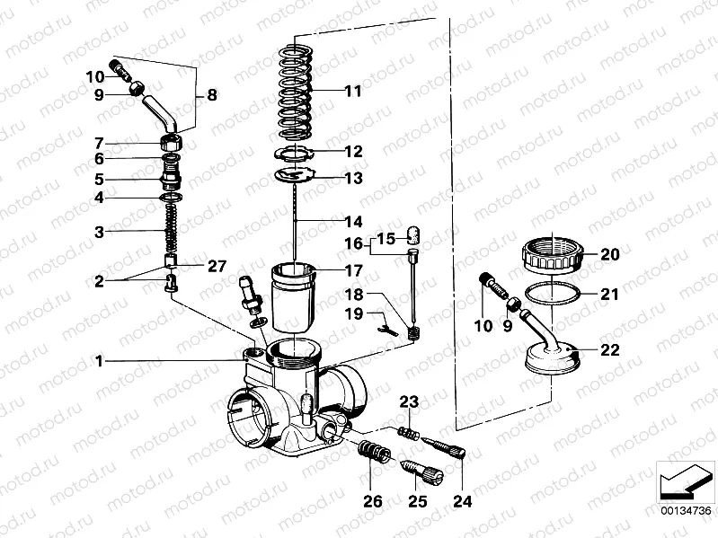
Carburetor-piston/adjuster/trigger

Carburetor-piston/adjuster/trigger
9
32731236644
Mère
10
13110039178
 Adjuster
11
13111254929
SLUICE VALVE SPRING
12
13111259276
Rondelle
13
13111254927
Bracket
14
13111254926
NOZZLE NEEDLE
16
13111254911
TRIGGER
17
13111254925
Piston
18
13111254912
Spring
19
13110039165
Split pin
20
13110039216
 Threaded ring
21
13111254932
Gasket ring
22
13111254930
Cover left
22
13111254931
Cover right
23
13111254918
Spring
24
13111254917
Vis
25
13111254921
Adjuster
26
13111254922
Spring

Узлы для