BATTERY BOX - W005099I (4955775577C002) | BATTERY BOX - W005099I (4955775577C002)

BATTERY BOX - W005099I (4955775577C002) | BATTERY BOX - W005099I (4955775577C002)
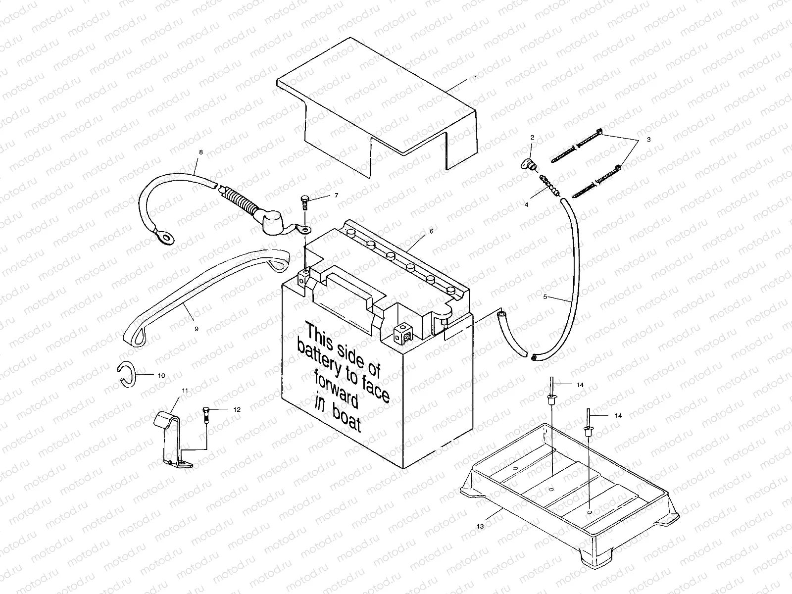
1
5433609
COVER-BATTERY
2
5410682
GROMMET, VENT
3
7080483
CABLE TIE 4 INCH
4
7052078
CONNECTOR
5
5432121
HOSE,GASTANK VENT
6
4140009
La batterie
7
2200619
BOLT BATT KIT
8
4010280
CABLE,GROUND,BATTERY/ENGINE
9
5411456
STRAP
10
5243775
HOOK,STRAP,NARROW
11
5244020
"""BRACKET-STRAP 1/4 INCH BOLT"""
12
7515121
BOLT, S.S.(10)
13
5431559
TRAY BATTERY
14
7661069
RVT-1/8,AL-AL,.126-.375

Узлы для