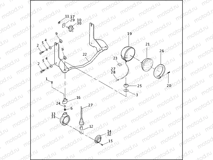
AUXILIARY/FOG LAMPS & FRONT TURN SIGNALS - FLHTC, FLHS

AUXILIARY/FOG LAMPS & FRONT TURN SIGNALS - FLHTC, FLHS
1
2647B
25 pc - SCREW, HEX SOCKET HEAD CAP
2
4036
HEX HEAD BOLT
3
6072
Rondelle
4
6702
WASHER, PLAIN, TYPE A
5
7041
Rondelle (Lock)
6
7778
NUT, HEX LOCK
7
9907
WIRE TERMINAL
8
CABLE ASSEMBLY, auxiliary lamps (not illustrated)
9
SPACER
10
67858-89
SWITCH,4-WAY,SPOT LAMP
11
67846-70
KNURLED NUT
12
68168-89A
TAIL LAMP BULB, LONG-LIFE
13
TURN SIGNAL
13
68766-94
DIRECTIONAL, FRONT, DOM
14
68440-86
FLAT DIRECTIONAL LAMP LENS
15
68452-86
SCREW, SIG. LAMP LENS
16
68519-68A
LAMP MOUNTING BRACKET
17
68619-83
LABEL, DASH PANEL
18
LAMP WIRING, auxiliary lamp (not illustrated)
19
AUXILIARY LAMP
20
SCREW, auxiliary lamp molding
21
SEALED UNIT, auxiliary lamps
22
BRACKET, auxiliary lamps
22
68712-94A
BRACKET, PASSING LAMP
23
CLIP, wire
24
68720-62
CLAMP BLOCK
25
68721-62
SWIVEL BLOCK(PASSING LAMPS)
26
68725-62A
RING, BEZEL, LAMP
27
72039-71A
PIN TERMINAL
28
72191-94
STAMPED AND FORMED SOCKET
29
14019-83A
LABEL, ON/OFF SWITCH
30
67858-89
SWITCH,4-WAY,SPOT LAMP
31
TURN SIGNAL (HDI) (use 68713-94A)
31
68713-94A
TURN SIGNAL, REAR, DOM
31
68767-94
DIRECTIONAL LAMP, 2 WIRE, HDI
32
68505-90
LENS, FRONT, HDI

Узлы для