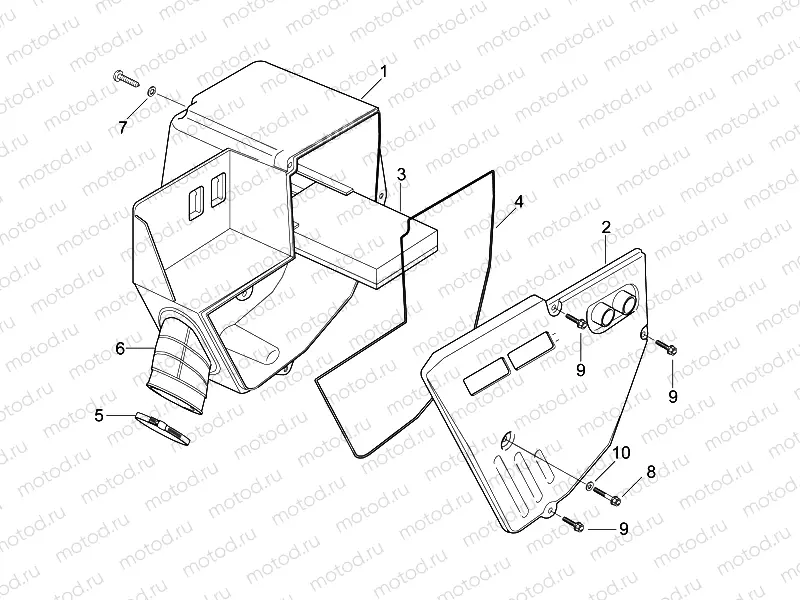
Air box

Air box
1
AP8230645
Filter housing base
2
AP8230644
Filter housing cover
3
AP8201429
Filtre à air
4
890513
Joint boîte de filtre
5
AP8201799
2 pc - Collier
6
AP8220409
Intake hose
6
AP8220642
Manchon de filtre à air - Soufflet
7
AP8120592
10 pc - Rondelle
8
AP8152281
Vis
9
AP8152280
Vis
10
AP8152181
Rondelle

Узлы для