67 - FUEL COCK (DR-Z400SL3 E33)

67 - FUEL COCK (DR-Z400SL3 E33)
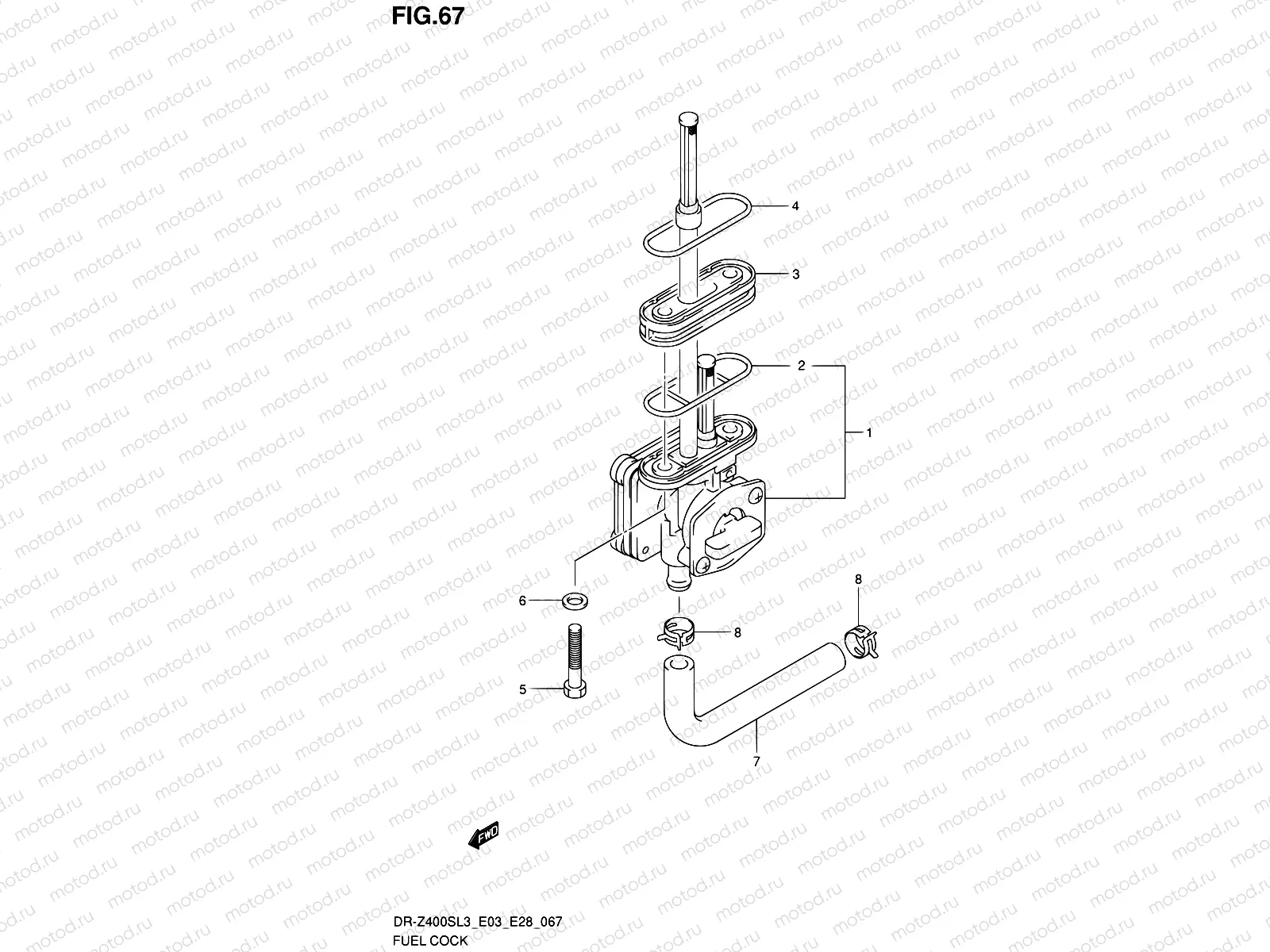
1
44300-29F20
Robinet d'essence
Цена по
запросу
2
44348-87421
Gasket,joint
226 ₽
3
44365-29F00
Кольцо/шайба
1 088 ₽
4
44366-14A01
Gasket,fuel Cock
272 ₽
5
09128-06010
Болт
900 ₽
6
09168-06026
ШАЙБА ФОРСУНКИ
97 ₽
7
44421-29F50
uel hose
Цена по
запросу
8
09401-11415
CLIP
113 ₽

Узлы для