61 - REAR MASTER CYLINDER

61 - REAR MASTER CYLINDER
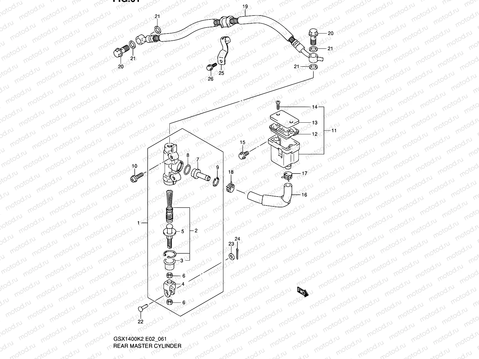
1
69600-42F00
CYLINDER ASSY,RR MASTER
21 505 ₽/шт
2
69600-04821
Piston/Cup Set
3 740 ₽/шт
3
69691-00A00
Ботинок
275 ₽/шт
4
69692-27A30
Ботинок
1 066 ₽/шт
5
69670-00B21
Толкатель
1 598 ₽/шт
6
69693-05A00
Гайка
162 ₽/шт
7
69672-23E00
Коннектор
653 ₽/шт
8
69686-34200
Кольцо уплотнительное
162 ₽/шт
9
69674-00B20
CIRCLIP
162 ₽/шт
10
09103-06212
БОЛТ
97 ₽/шт
11
69740-38B21
Rear reservoir
5 787 ₽/шт
12
59667-04700
УПЛОТНИТЕЛЬ
799 ₽/шт
13
59669-05D00
CAP
1 024 ₽/шт
14
69689-04A00
Болт
187 ₽/шт
15
01550-0612B
БОЛТ
81 ₽/шт
16
69730-42F00
HOSE,RR RESERVOIR TANK
1 548 ₽/шт
17
09401-13417
ХОМУТ МАЛЫЙ
170 ₽/шт
18
09401-12404
Крепёж
162 ₽/шт
19
69480-42F02
Hose,rr Brake
9 462 ₽/шт
20
09360-10062
Болт соединяющий
469 ₽/шт
21
09161-10009
Шайба
113 ₽/шт
22
09200-06068
Вал ручки
226 ₽/шт
23
08322-0106A
Шайба
81 ₽/шт
24
04111-2015A
Штифт
81 ₽/шт
25
69268-42F00
CLAMP,RR BRAKE HOSE
837 ₽/шт
26
01547-0616B
БОЛТ
81 ₽/шт

Узлы для