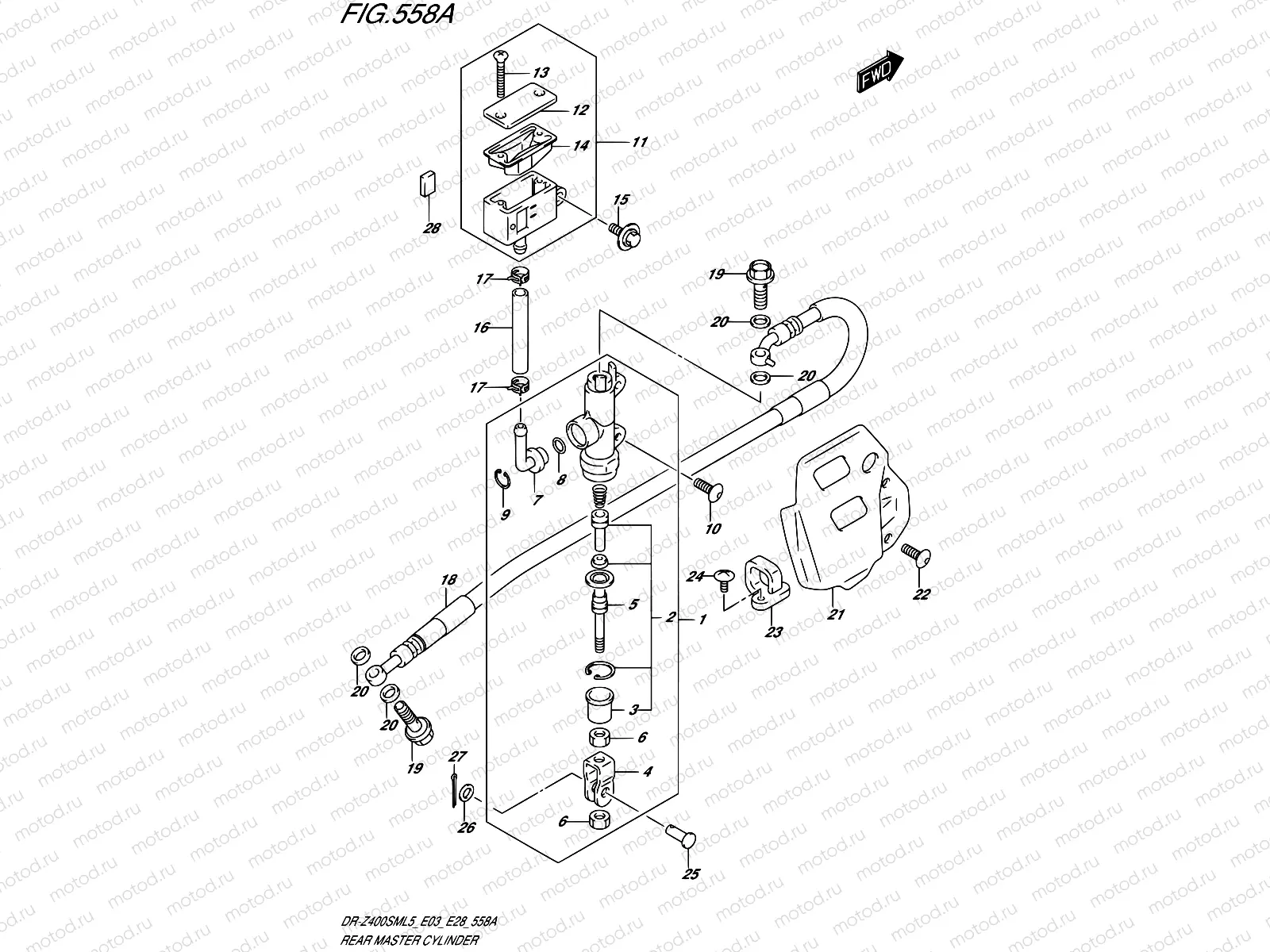
558A - REAR MASTER CYLINDER

558A - REAR MASTER CYLINDER
1
69600-29F00
CYLINDER ASSY,RR MASTER
16 148 ₽
2
69600-04821
Piston/Cup Set
3 740 ₽
3
69691-00A00
Ботинок
275 ₽
4
69692-29F00
Ботинок
1 091 ₽
5
69670-36E00
Толкатель
1 513 ₽
6
69693-05A00
Гайка
162 ₽
7
69672-00B20
Коннектор
816 ₽
8
69686-34200
Кольцо уплотнительное
162 ₽
9
69674-00B20
CIRCLIP
162 ₽
10
09139-06237
Screw(6X16)
1 880 ₽
11
69740-36E01
TANK ASSY,RESERVOIR
5 357 ₽
12
69669-44E00
CAP
1 244 ₽
13
69689-36E00
Болт
211 ₽
14
59667-14500
Диафрагма
618 ₽
15
09116-06170
Болт M6X16
85 ₽
16
59731-42E00
HOSE,FR RESERVOIR TANK
864 ₽
17
69735-00B20
CLAMP,RESERVOIR HOSE
254 ₽
18
69480-29F12
Hose Comp,rear Brake
7 116 ₽
19
09360-10062
Болт соединяющий
469 ₽
20
09161-10009
Шайба
113 ₽
21
43571-36E20
GUARD,RR MASTER CYLINDER
3 069 ₽
22
09139-06237
Screw(6X16)
1 880 ₽
23
61196-27C50
Guide,rr brake
24
02142-0510A
Болт
82 ₽
25
09200-08048
PIN(8X20)
114 ₽
26
09160-08090
Шайба
1 450 ₽
27
04111-2015A
Штифт
81 ₽
28
69749-29F00
CUSHION,RR RESERVOIR TANK
262 ₽

Узлы для