50A - SEAT (VZ800Z/ZUE)

50A - SEAT (VZ800Z/ZUE)
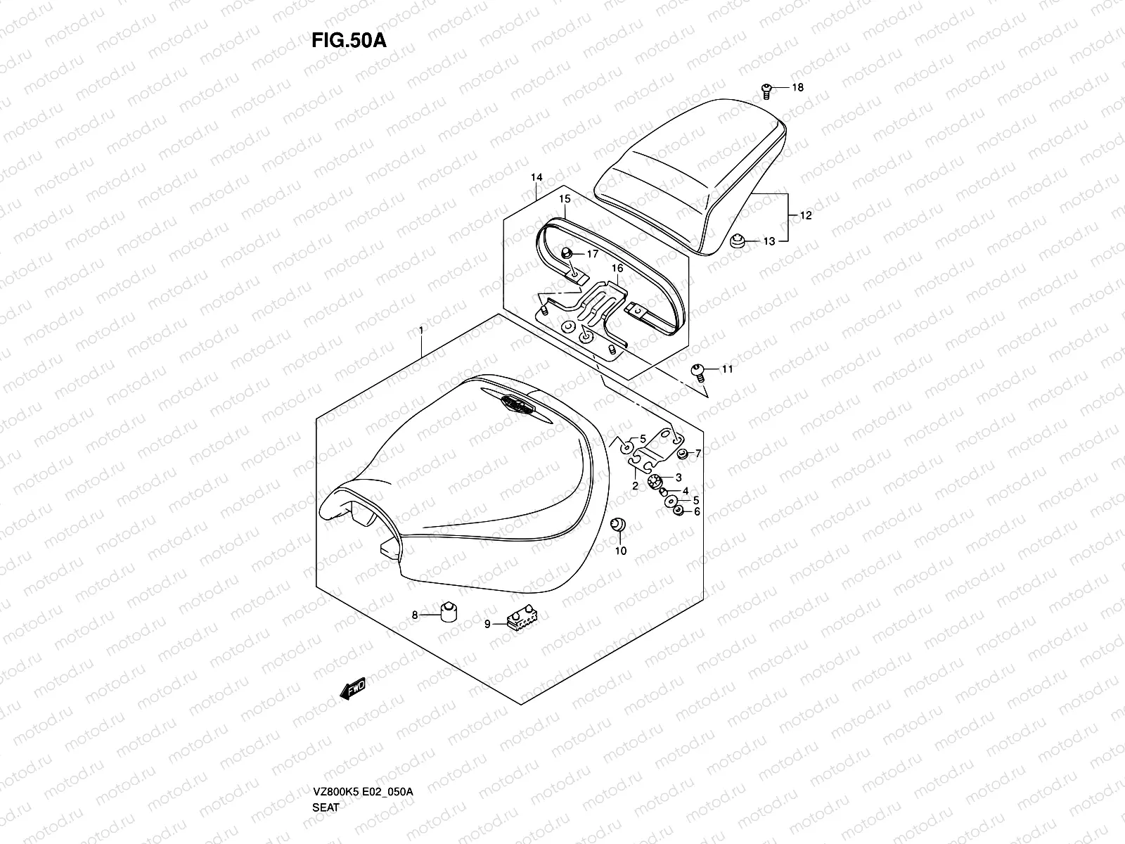
1
45100-39G10-HW9
SEAT ASSY
34 799 ₽/шт
1
45100-39G20-HW9
SEAT ASSY
34 799 ₽/шт
2
45115-39G00
Plate,seat fron
3
45149-41F00
CUSHION
700 ₽/шт
4
09180-07004
Кольцо/шайба
1 410 ₽/шт
5
09160-06501
Шайба
102 ₽/шт
6
08316-1006A
Гайка
85 ₽/шт
7
09320-10057
CUSHION
2 420 ₽/шт
8
09321-10039
CUSHION
549 ₽/шт
9
45149-31300
CUSHION,SEAT(40X20X15)
510 ₽/шт
10
09321-10002
CUSHION
162 ₽/шт
11
09106-06064
БОЛТ
3 680 ₽/шт
12
45300-39G10-HW9
SEAT ASSY. PILLION (BLACK)
13
09321-10002
CUSHION
162 ₽/шт
14
45180-39G01-P21
Band Assy,seat
5 122 ₽/шт
15
45181-39G01
Band
2 151 ₽/шт
16
45185-39G00
BRACKET,SEAT BAND
3 472 ₽/шт
17
08313-2006A
Гайка
337 ₽/шт
18
09106-08140
Заглушка масляной магистрали
258 ₽/шт

Узлы для