ЗАДНЯЯ ФАРА для SV650 K6 SUZUKI (VIN: JS1BY111)

36 - TAIL LAMP
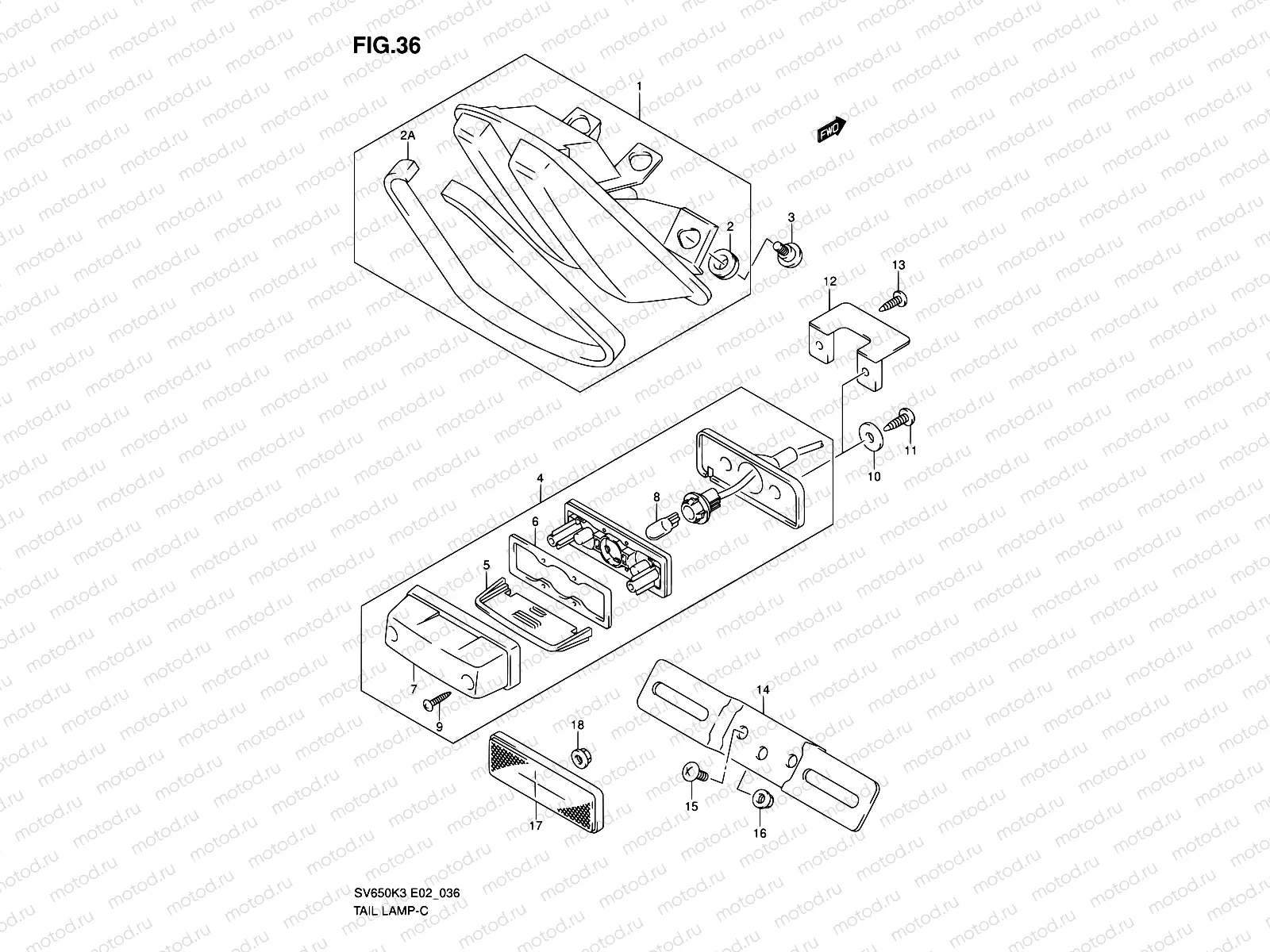
1
35710-16G01
Стоп-сигнал
20 332 ₽
2
09320-10070
Cushion,rear co
Цена по
запросу
2
45519-16G01
CUSHION,SEAT TAIL COVER
622 ₽
3
09139-06118
Винт
2 030 ₽
4
35910-16G11
Фонарь подсветки номера
4 418 ₽
5
669 ₽
6
35913-16G00
Прокладка
469 ₽
7
35917-16G00
COVER
867 ₽
8
09471-12216
ЛАМПА НАКАЛИВАНИЯ
459 ₽
9
03211-0416A
Болт
85 ₽
12
35926-16G00
BRACKET,LICENSE
786 ₽
13
03541-0520B
Болт
1 330 ₽
14
35927-00A10
Кронштейн
708 ₽
15
02142-0616A
Болт
81 ₽
16
08316-1006A
Гайка
85 ₽
17
35970-07F01
СВЕТООТРАЖАТЕЛЬ БАМПЕРА ЗАДНЕГО
1 173 ₽
18
08316-1005A
Гайка
85 ₽

Узлы для