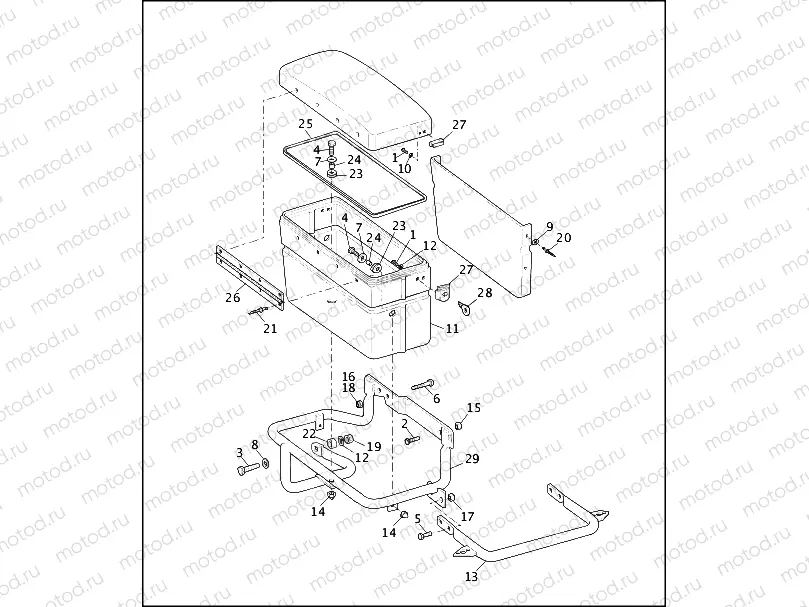
SADDLEBAGS - FXRP

SADDLEBAGS - FXRP
1
SCREW
2
2887WA
SCREW, CAP
2
3419
CAP SCREW
3
BOLT
4
3991
25 pc - Vis
5
4017
pc - SCREW, HEX
6
SCREW
7
6229W
Rondelle
8
6334
Rondelle
9
6198
Rondelle
10
6717
Rondelle
11
SADDLEBAG ASSEMBLY, left (black)
12
7039
Rondelle (Lock)
12
SADDLEBAG ASSEMBLY, right (black)
13
CROSS BRACE, saddlebag support
14
7507
ACORN NUT
15
7531
LOCKNUT.
16
7782
Nut
17
7739
NUT, HEX LOCK
18
7776W
Nut
19
NUT
20
RIVET
21
8692
BLIND RIVET
22
SPACER
23
90483-85
Damper
24
SPACER
25
GASKET
26
HINGE, saddlebag
27
90658-84A
LATCH SET, SCREW-TYPE
28
KEY, indicate serial number
29
SADDLEBAG CARRIER, right
29
SADDLEBAG CARRIER, left

Узлы для